저류지 홍수조절 방식 구분 및 선정 방법
- 자료실/수자원공학
- 2023. 11. 22.
반응형

저류지 홍수조절 방식 구분 및 선정 방법
(1) 지역외 저류(off-site) 방식의 저감시설인 저류지는 홍수조절 방식에 따라 하도내 저류(on-line) 방식과 하도외 저류(off-line) 방식으로 구분된다.
(2) 수리학적 안전성이 높은 하도내 저류(on-line) 방식을 우선적으로 채택하는 것을 원칙으로 하되 지구특성상 불가피한 경우에 한하여 하도외 저류(off-line) 방식을 채택한다.
- 하도내 저류(on-line) 방식은 하천노선상에 저류지를 설치하여 모든 규모의 하천유량을 저류지로 유입시킨 후 일반적으로 비조절방식으로 자연방류시킴으로써 첨두홍수량을 저감시키고 첨두발생시간을 지연시키는 방식이다.
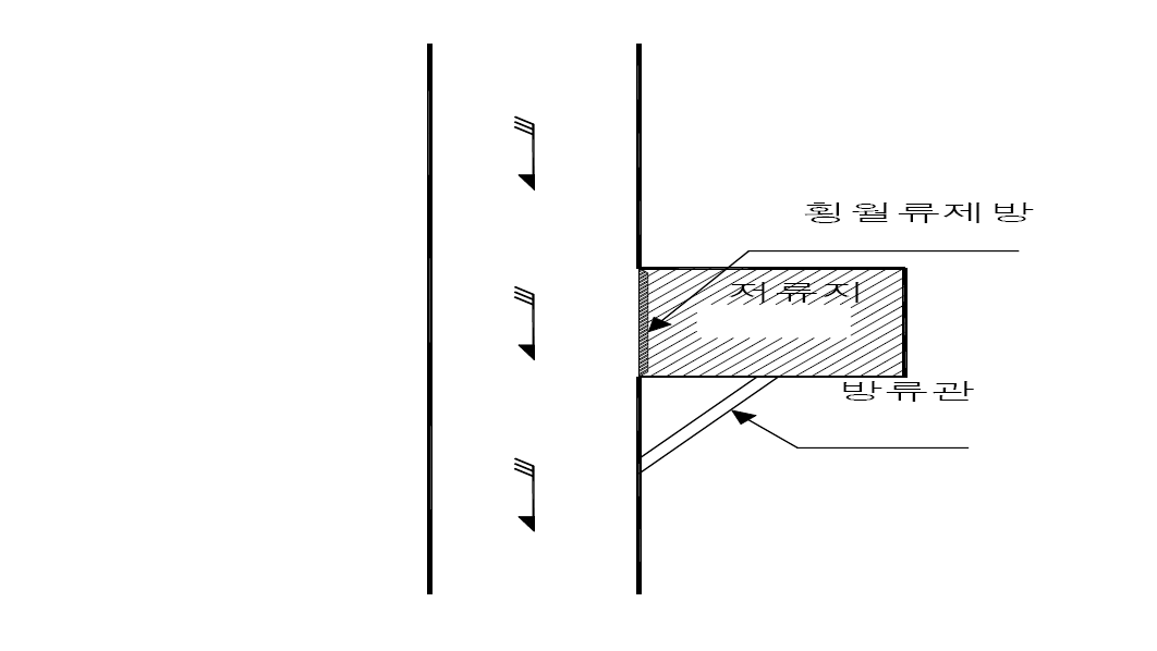
- 반면, 하도외 저류(off-line) 방식은 하천노선의 측면 외부에 저류지를 설치하여 개발 후 홍수량이 개발 전 홍수량 이하인 경우에는 그대로 유하시키고 개발 전 첨두홍수량을 초과하는 경우에는 초과분을 횡월류웨어를 통하여 저류지로 유입시킨 후 하류부 하천의 홍수위가 저하된 다음 방류하는 방식이다.
- 하도외 저류방식은 하천의 외수위가 높아서 하도내 저류 방식은 소요 면적이 지나치게 크게 산정되어 적용이 불가능한 경우, 산지부와 같이 경사가 급한 지역에 설치하는 경우, 월류 등에 의한 파괴 우려가 있는 경우, 기존 도시지역과 같이 저류지 면적이 제한적인 경우 등에 국한하여 적용하고 일반적인 경우에는 수리학적 안전성이 높은 하도내 저류 방식을 채택하여야 한다.
반응형
저류지 홍수조절 방식
![]() |
![]() |
![]() |
![]() |
| 하도내 저류(on-line) | 하도외 저류(off-line) |
반응형
'자료실 > 수자원공학' 카테고리의 다른 글
| 하도외 저류 방식의 저류지 계획 (0) | 2023.12.05 |
|---|---|
| 하도내 저류 방식의 저류지 계획 (0) | 2023.12.01 |
| 홍수유출 저감시설 형식 구분 및 선정 방법 (0) | 2023.11.06 |
| 개발 후 배수계통도 작성 (0) | 2023.11.03 |
| 최적 조합 선정을 통한 침사지겸 저류지 제원 결정 (0) | 2023.11.02 |



