침수대비 피해 방지대책
- 자료실/수자원공학
- 2024. 5. 20.
반응형

침수대비 피해 방지대책
지하상가 인원 및 상품보호 활동
다양한 상품을 소유하고 있는 상가내 종사자들이 불특정 다수인과 함께 있는 지하상가의 경우 아래와 같이 침수 피해를 최소화하기 위한 활동을 실시하여야 한다.
(1) 평상시의 침수예방대책
(2) 침수우려시 안전 대책
(3) 침수후 안전 및 상품 보호대책
- 지하상가는 지하공간내 공간배치 상황을 잘 파악하고 있는 상가내 종사자들과 불특정 다수인이 함께 있으므로 상가내 종사자들의 적절한 대비는 인명 및 상품을 보호하는데 도움이 될 수 있다.
(1) 평상시
- 침수예방 대책으로는 출입구, 환기구 등을 통한 물의 유입이 제대로 되었는가를 수시로 확인하고 배수펌프, 집수정 등 유입된 물을 빠른 시간 내에 배제하기 위한 시설물의 용량, 가동상태 등을 수시로 점검하여 필요한 조치를 해야된다. 또한, 침수시 안전하게 대피할 수 있도록 경보방송설비 점검과 함께 대피로, 안내표지 등을 점검하여야 하며 물의 유입을 차단하고 배제, 대피하기 위한 대책을 포함한 지하공간 침수대비 훈련을 작성하여 정기적으로 방재훈련을 실시하는 것이 필요하다.
(2) 침수우려시 안전 대책
- 집중호우나 태풍에 의해 지하상가의 침수가 우려될 때 지하상가 이용자들에게 대피를 준비하게 하는 대피준비방송과 함께 안전한 대피로의 위치와 침수시 대피 행동요령 등이 담긴 전단지를 나누어 준다. 특히 침수가 이루어지기 전에 상황을 미리 파악하여 침수시 지하상가 이용자가 우왕좌왕 하지 않도록 유의한다
(3) 침수후 안전 및 상품보호를 위한 대책
- 대피한 이용자들의 건강을 살피는 동시에 대피하지 못한 이용자가 있는가에 대하여 지하상가 내부를 CCTV를 활용하거나 화장실 등 취약지역에 대하여 안전 순찰을 실시하여 모든 이용자가 대피하였는가를 확인하고 침수후의 상품의 안전을 위한 조치를 실시한다.
대피경로 확보
지하상가내 침수우려가 있는 유입구에 연결되는 지상의 출입구를 폐쇄하고 해당 출입구 이외의 통로를 준비하거나 긴급대피를 위한 사다리 등을 이용하여 적절한 대피로를 확보해야 한다.
![]() |
![]() |
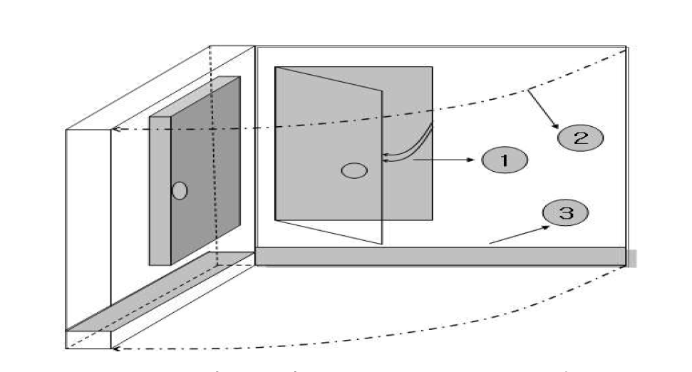
| 그림1) 침수방지와 대피를 고려한 출입문의 설치 | 그림2) 차수를 목적으로 하는 출입문의 설치 |
- 지하상가의 경우 출입구가 여러곳에 설치되는 경우가 많으므로 물의 유입이 우려되는 출입구를 적절히 폐쇄하고 다른 출입구를 통하여 대피가 가능하도록 대피경로를 확보해야 한다. 이때 확보된 대피 경로의 출입구가 지나치게 멀거나 출입구의 갯수가 많지 않은 경우에는 개폐가 가능한 문을 설치하여 이용할 수 있다.
- 이중문은 아래 그림과 같이 개폐되는 문의 중앙에 또다른 출입구를 만들어 비상시 문을 닫고 중앙의 출입구만을 열어 출입문이 방수판의 역할을 감당 하도록 하는 것이다.
- 그림1은 침수방지와 대피를 고려한 출입문의 설치에 대한 좋은 사례이다. 그림1의 하부 ③을 통하여 일정 수위까지 물의 유입을 허용하여 급격한 침수를 막고 ①을 통하여 이용자가 지상으로 대피할 수 있도록 한다. 이 차수문은 ②와 같이 평상시 벽면에 있던 차수벽이 침수 상황이 되었을 때 자동 또는 수동으로 통로를 차단한다. 이 문을 설치하여야 하는 위치는 출입구 계단이거나 출입구 이어야 한다.
- 차수를 목적으로 하는 출입문을 설치하는 것도 바람직하다. 그림2와 같이 지하공간으로 물이 급격히 들어올 수 있는 구조로 되어 있는 경우 ③과 같이 다중으로 차수문을 설치하여 물의 유입을 완전히 차단하고 안전한 통로②와 같이 예상침수높이에 비하여 안전한 설계, 시공된 통로를 확보하여 사용한다. ①의 수위는 높에 설정된 출입구의 빗물 유입방지턱 또는 방수판에 의하여 물의 유입이 차단되는 것이며 ④는 유로방향 또는 빗물 유입방지턱의 높이가 침수위에 못미치거나 설치되지 않은 출입구이다.
반응형
방재훈련
지하상가 침수시를 대비하여 상가내 거주자들이 대피에 대한 행동요령을 인지하도록 하고, 실제 모의 방재훈련을 통하여 침수 발생시 이용객들의 적절한 대피를 유도할 수 있도록 하여야 한다.
- 지하상가가 침수되는 경우 상가 이용객들의 안전도를 확보하기 위하여는 상가내 거주자들의 신속한 대처가 요망된다. 이와 같은 활동을 위하여 침수시 대피에 대한 행동요령을 사전에 인지토록 하고, 평상시 모의 방재훈련을 실시하여 침수 발생시 또는 침수 발생 위험시 이용객들의 적절한 대피를 돕도록 해야 한다.
- 지하상가내 거주자들은 평시 침수 등과 같은 비상시를 대비하여 적절한 통로를 확보하고 상품진열이 통행을 방해하지 않도록 유의한다. 방재훈련 행동매뉴얼 작성시 이용자의 안전한 대피와 상품보호 및 시설물 보호에 관한 내용을 포함하여 작성한다.
지하철 및 전철 지령실 침수 방지
지하철 및 전철을 운행하는 지령실은 침수시에도 활용하기 위하여 가능한 한 지상에 설치하는 것이 좋다. 부득이하게 지하철 및 전철의 지령실을 지하에 설치하는 경우 조정실의 침수방지 대책을 수립하여 침수시에도 활용이 가능토록 한다.
- 대만에서 발생한 지하철 침수사고(2001)를 보면 지령실의 위치가 지하철 역사내에서도 낮은 부분에 있어서 신호체계 및 전력 공급 장치가 사용할 수 없게 되어 지하철 시스템이 마비되었다. 지하철의 침수 방지 대책은 기본적으로 물의 유입을 방지하는데 있지만 물이 유입되었을 경우 다수의 지하철 이용자들이 원활하고 안전하게 대피할 수 있도록 지령 및 신호, 경보 등을 내리는 것도 중요하다. 지령실은 가능한 한 지상에 침수높이 이상 지역에 위치하여야 하며 지령실의 출입구는 방수가 되도록 설계하여야 한다. 부득이하게 지하철이나 전철의 지령실이 지하에 설치되는 경우 지령실에 대한 완벽한 침수방지 대책을 수립하여 침수 이후에도 활용이 가능하도록 해야 한다.

방재를 위한 홍보
지하철 및 전철의 운영기관은 평상시 지하철 및 전철 이용자들이 잘 보이는 곳에 침수시 행동요령을 게시하는 등 방재를 위한 다양한 홍보대책을 강구하여야 한다.
- 지하철 및 전철역 등 눈에 잘 보이는 곳에 침수시 행동요령 등을 게시 및 영상물로 홍보할 수 있도록 대책을 마련하여야 한다.
대피방송
지하철 및 전철의 지하공간 내 대피 방송은 피해 감소와 상황의 조기종료를 가져올 수 있다. 따라서 침수에 따른 여러 환경에 대비하기 위한 다양한 채널의 대피 방송 방법의 구축 및 운영을 해야 한다.
- 지하철의 침수시 대피방송은 지하철공사의 주 상황실에서 지령을 내리거나 각 역의 역장의 권한에 따라서 시행된다. 신속한 상황 판단에 따른 피해 감소를 위해서 각 역 및 주 상황실 근무자들에 대한 교육 및 모의 훈련이 필요하다.
- 침수로 인한 정전시 대피방송이 불가능 할 경우를 대비해서 확성기 및 정확한 비상 연락체계의 구축이 필요하다. 또한 지하철 운전자 등에게는 전력 공급의 차단에 의한 통신 수단의 사용 불능사태를 방지하기 위하여 비상 연락이 가능하도록 조치해야 한다.
출처 : 지하 공간 침수방지를 위한 수방기준 실무 매뉴얼
반응형
'자료실 > 수자원공학' 카테고리의 다른 글
| 재해지도 작성 일반사항 (0) | 2024.05.21 |
|---|---|
| 지하공간 수방기준 관련 주요 용어 설명 (0) | 2024.05.21 |
| 지하다층 건물 다단계 배수펌프 설치 (0) | 2024.05.17 |
| 반지하 주택의 출입구 높이 확보 (0) | 2024.05.17 |
| 저지대내 주택 신축 억제 (0) | 2024.05.17 |

