지하공간 침수방지를 위한 환기구 및 채광용 창 위치
- 자료실/수자원공학
- 2024. 4. 26.
반응형

지하공간 침수방지를 위한 환기구 및 채광용 창 위치
지하공간과 연결되는 환기장치를 설치하는 경우에는 예상침수높이보다 높은 지점에 환기구를 설치하여 홍수시 또는 이에 상응하는 수위발생시 환기구를 통한 물의 유입이 없도록 유의하여야 한다. 다만 설치공간, 통행자 등을 감안하여 부득이 예상침수높이보다 낮은 지점에 환기구를 설치할 경우 방수판, 차수문 등 유입되는 물을 방지하는 구조물을 설치하여 침수에 대비해야 한다.
![]() |
![]() |
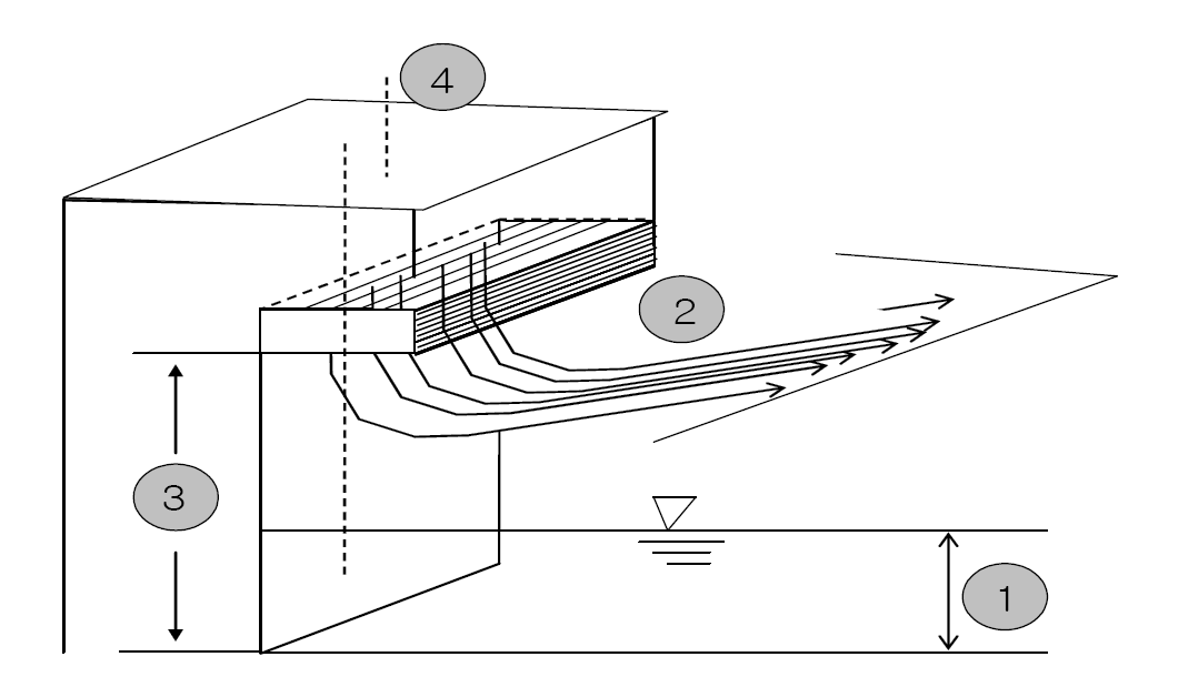
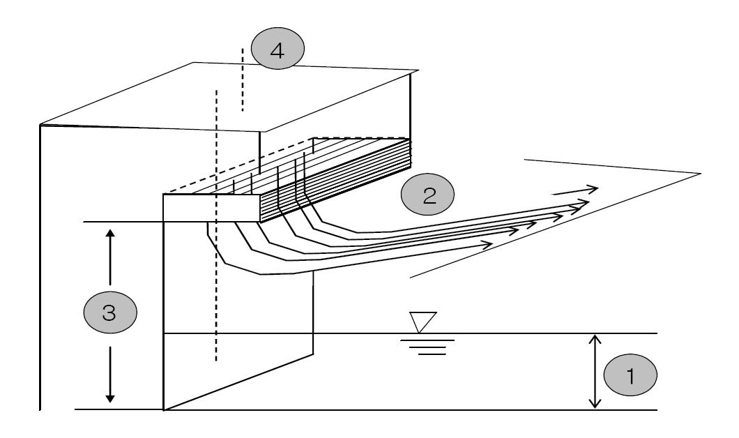
| 침수높이보다 높은 환기구 설치 | 채광창을 설치하는 경우 차수벽(차수문) 설치 |
| 1. 홍수범람위험지도 또는 과거 침수흔적도를 활용하여 예상침수높이를 구한다. 2. 환기구 입구가 공중에 직접 노출되지 않게 한다. 3. 예상침수높이에 여유고를 더하여 높이 설치한다. 4. 빗물차단막으로 직접 환기구에 빗물이 들어가지 않도록 한다. |
1. 노면으로부터 위로 높이(침수 방지턱의 높이) 2. 빛이 투과할 수 있는 구조 3. 채광용창(방수처리 및 침수시 발생할 수압에 적합하여야 함) 4. 차수문 또는 차수벽 |
- 환기구를 예상 침수높이보다 높게 설치하여 환기구를 통하여 빗물이 직접 지하공간으로 들어가지 않도록 해야한다. 치하층과 연결된 환기구의 높이는 침수높이에 여유고를 더하여 높이 설치한다.
- 지하공간의 채광용 창으로부터 침수를 막기 위해서는 채광용창은 지상의 침수높이 보다 높게 설치하여 채광을 위하여 지하와 지상의 공간이 연결되어 있는 부분에서 물의 유입을 막기 위하여 투명 유리를 설치하거나 주위에 침수방지 설비를 갖추어야 한다. 채광용 창이 지상에 노출되어 있을 경우 비가 바로 지하로 유입되기 때문에 지상과 지하공간 사이에 차수벽 또는 차수문이 있어야 한다.
- 환기구를 통한 침수방지를 위하여 차수문을 설치하거나 일반주택의 경우 임시적으로 아래 그림과 같이 방수캡을 사용하여 빗물 유입을 방지한다.
![]() |
![]() |
| 환기구 차수문(좌 열린상태, 우 닫힌상태) | 방수캡(영국 환경청) |
출처 : 지하 공감 침수방지를 위한 수방기준 실무 매뉴얼
반응형
'자료실 > 수자원공학' 카테고리의 다른 글
| 지하공간 침수방지를 위한 누전 및 정전 방지 (0) | 2024.04.29 |
|---|---|
| 지하공간 침수방지를 위한 비상조명 및 안내표시 (0) | 2024.04.29 |
| 지하공간 침수방지를 위한 출입구 방지턱의 높이 (0) | 2024.04.24 |
| 침수방지 대책에 포함되는 내용 (0) | 2024.04.23 |
| 침수방지대책 단계별 계획수립 (0) | 2024.04.22 |



