침투통의 시공 및 유지관리
- 자료실/수자원공학
- 2023. 6. 23.
(1) 개요
본 장은 침투시설중 하나인 침투통 설치에 따른 일반사항, 재료, 시공에 필요한 표준적인 방법을 정한 것이다.
투수성을 가지는 통 본체와 주변을 쇄석으로 충전하여 집수한 빗물을 측면 및 바닥에서 땅속으로 침투시키는 침투동의 설계, 시공 및 유지관리에 관한 기준을 규정한다
(2) 설계요구사항
침투통의 설계시에는 다음과 같은 항목을 고려하여야 한다.
(1) 적용대상 집수정의 범위
(2) 위치선정 및 설치 규모
(3) 위치선정시 주의사항
(4) 유속 및 경사
(5) 매설심도
(6) 기타
적용대상 집수정은 우수관경 300mm 이하의 집수정을 대상으로 선정한다.
침투통의 적용 예
| 설치장소의 이용 | 집수대상 | 침투통 |
| 단독주택 | 지붕 | O |
| 건물주택(정원, 주차장) | O | |
| 주택단지, 사무소, 학교 등 | 지붕 | O |
| 건물주변(식재지, 주차장, 자전거 주차장, 도로) | O | |
| 공원 등 | 식재지(녹지), 도로, 주차장, 운동장 | O |
| 도로 | 보·차도 구별이 있는 도로의 차도 | O |
| 보·차도 구별이 있는 도로의 보도 | O | |
| 보·차도 구별이 없는 도로 | O |
침투통의 위치선정 및 설치규모는 하수도 시설기준에 따라 다음의 상황을 고려하여 설치한다.
① 관거의 기점, 방향, 경사 및 관경 등이 변하는 곳, 단차가 발생하는 곳, 관거가 회합하는 곳이나 관거의 유지관리상 필요한 장소에 설치한다.
② 관거의 직선부에서도 관경에 따라 50 ~ 200m 범위내의 간격으로 설치한다.
맨홀의 관경별 최대 간격
| 관경(mm) | 300 이하 | 600 이하 | 1000 이하 | 1500 이하 | 1650 이하 |
| 최대간격(m) | 50 | 75 | 100 | 150 | 200 |
③ 집수정(맨홀)의 종류는 접합관경에 따라 표준맨홀에 준하며, 지혀의 특성, 지하매설물과의 관계 및 관거의 구조 등에 따라 특수한 집수정(맨홀)을 형상별 용도에 따라 설치한다.
④ 관경이 300mm 이하이고 기계력을 충분히 활용할 수 있는 경우는 맨홀간격을 크게 해도 지장이 없으나, 청소용 차량이 진입할 수 없는 좁은 도로 및 보행자 전용도로에서의 청소작업 등은 인력으로 하는 경우가 있기 때문에 이 때에는 작업효과를 좋게 하기 위해 특별하게 맨홀간격을 최대 30m로 할 수도 있다.
표준맨홀의 형상별 용도
| 명칭 | 치수 및 형상 | 용도 |
| 1호 맨홀 | 내경 900mm 원형 | 관의 기점 및 600mm 이하의 관의 중간점 또는 내경 450mm 까지의 관의 회합점 |
| 2호 맨홀 | 내경 1200mm 원형 | 내경 900mm 이하의 관의 중간점 또는 내경 600mm 이하의 관의 회합점 |
| 3호 맨홀 | 내경 1500mm 원형 | 내경 1200mm 이하의 관의 중간점 또는 내경 800mm 이하의 관의 회합점 |
| 4호 맨홀 | 내경 1800mm 원형 | 내경 1500mm 이하의 관의 중간점 또는 내경 900mm 이하의 관의 회합점 |
| 5호 맨홀 | 내경 2100mm 원형 | 내경 1800mm 이하의 관의 중간점 |
침투통 설치시 다음 지역의 경우 설치할 수 없다.
① 산사태 위험지역, 급경사지 등 우수침투에 의해 지반의 안정성에 문제가 발생할 우려가 있는 지역
② 지하건물의 밀집 등으로 우수침투시 주변지역의 건물에 누수 등 문제가 발생할 우려가 있는 지역
③ 투수계수가 10^-5 cm/s 보다 작은 토양(시공지역의 터파기 공사후 물이 5시간 동안 0.18cm 이하로 침투되는 토양)
④ 입도분포도에서 점토가 40% 이상을 차지하는 지역
⑤ 공장주변지역 또는 매립지 주변지역 등에서 수질오염이 우려되는 지역
- 우수관로는 관내침전을 방지하기 위하여 계획우수량에 대하여 최소 0.8m/sec, 최대 3.0m/sec의 유속을 유지해야 하며, 관로의 유속이 3.0m/sec를 초과할 경우에는 적절한 단차공을 설치하여 과도한 관벽 마찰이나 하류부에서 유수가 분출하는 현상을 방지해야 한다.
- 모든 관로의 토피는 도로부의 경우, 관 상단으로 부터 1.2m 이상, 보도부의 경우는 1.0m 이상 확보되어야 한다(연락관의 경우는 관 상단으로 부터 0.6m 이상)
- 침투통은 집수가 용이하도록 가능한 한 지형이 오목한 부분을 선정하여 설치해야 한다. 또, 법면에서 소단측구와 도로수가 교차하는 지점에 설치하는 침투통은 밀폐식 뚜껑을 사용하거나 집수정의 높이를 높게 시공하여 도수로에서 급경사로 유하하는 물이 넘치거나 비산되지 않도록 한다. 더불어 본 공사와 관련이 되는 기존 지하매설물은 손상이 없도록 필요한 보호조치를 강구해야 한다.
(3) 시공 전 주의 사항
지하매설물조사 등 설치장소의 제약조건을 파악하는 것과 함께 주변의 지표면 상황이나 지형경사, 배수계통 등을 조사한다.
상·하수도, 가스, 전력선과 같은 라이프라인(Life-Line) 등의 지하매설물이 있는 경우에는 시공 및 유지관리상 어려움이 발생할 수 있으므로 이에 대해 유의하여야 한다. 또한, 침투시설로부터 월류수를 방류하는 대상이 공공하수도 등인 경우에는 기존 관, 공공하수도의 높이와 깊이, 길이에 대하여 조사하여야 한다. 침투통의 시공은 하부층이 동결되었거나 기온이 4℃ 이하인 경우와 30℃ 이상인 경우에는 시공해서는 안 된다.
(4) 구성요소
침투통은 통 본체, 충전쇄석, 모래, 투수시트, 연결관(집수관, 배수관, 투수관 등), 부대시설(막힘 방지시설) 등으로 구성된다.
침투통은 크게 통 분체와 침투층으로 구분할 수 있다. 통 분체는 「하수도 시설기준(맨홀)」에 따라 위치선정 및 설치규모를 결정하며, 침투층은 통 본체의 크기에 따라 모래와 쇄석층으로 구분한다.

단독으로 설치하는 경우
집수규모가 작고 침투량이 적은 경우는 침투통을 단순하게 설치하여 일반적으로 각 가구별로 설치할 수 있다.
조합하여 설치하는 경우
단순하게 침투통 하나만으로 처리하지 못하는 경우 다른 침투통과 조합하여 설치한다. 이런 조합설치는 각 가구에서부터 대규모 단지에 이르기까지 광법위하게 설치할 수 있다.

침투통 본체
침투통 본체의 설계 및 계획시에는 침투통의 내경, 내부치수, 통의 높이, 형상, 투수구조, 유공경, 연결관의 접합 등을 고려하여야 한다.
① 침투통의 내경 또는 내부치수는 300 ~ 500mm 를 표준으로 하나, 협소한 장소에서는 150mm 정도를 최소로 한다.
② 통의 높이는 연결관의 접합위치 및 진흙의 퇴적깊이 등을 고려하여 결정하도록 한다.
③ 형상은 원형 또는 각형으로 하고, 재질은 콘크리트 또는 합성수지(염화비닐, 폴리프로필렌 등)를 표준으로 한다.
④ 침투통과 침투통을 조합하여 설치하는 시설에서는 침투통의 측면을 투수성 구조로 처리하지 않고 저면의 바닥으로 부터 투수되는 구조로 한다.
⑤ 투수구조는 유공 또는 다공(포러스)을 표준으로 한다.
⑥ 유공의 구조에 있어 유공경은 충전쇄석의 입경을 고려하여 20mm 이하로 하고 개공률은 장기적인 면에서 투수기능이 저하되지 않도록 0.5% 이상을 표준으로 한다. 다공의 경우에는 투수계수 3 × 10^-1 cm/sec 이상을 표준으로 한다.
뚜껑 및 막힘 방지장치
뚜껑은 효율적인 유지관리를 위하여 마크를 표시하며, 막힘 방지 장치를 설치하여 우수 침투를 원활히 하도록 한다.
① 뚜껑에는 유지관리용 마크를 표시하되, 사업준공 후 지자체에 기부채납하는 공공하수도는 해당 지자체 마크를 표시하고, 그 외의 뚜껑에 대해서는 사업자 마크를 표시한다.
② 막힘 방지장치에는 상부필터, 저부필터, 관입구에 설치하는 필터 등이 있으며, 설치목적에 따라 적절하게 선택할 필요가 있다. 또한, 막힘 방지장치는 착탈이 쉬운 재료를 이용하며, 일정 수준 이상의 강도를 가지는 것으로 한다.
대상우수에 따른 막힘방지 장치의 설치
| 대상우수 | 막힘방지장치 | |||
| 상부 필터 | 저면부 필터 | 관입구 필터 | ||
| 지붕우수 | - | △ | ○ | |
| 지표수 | 토사·쓰레기의 유입이 있는 경우 | △ | △ | ○ |
| 비교적 양호한 경우 | ○ | ○ | ○ | |
○ : 필요, △ : 상황에 따라 필요, - : 필요없음

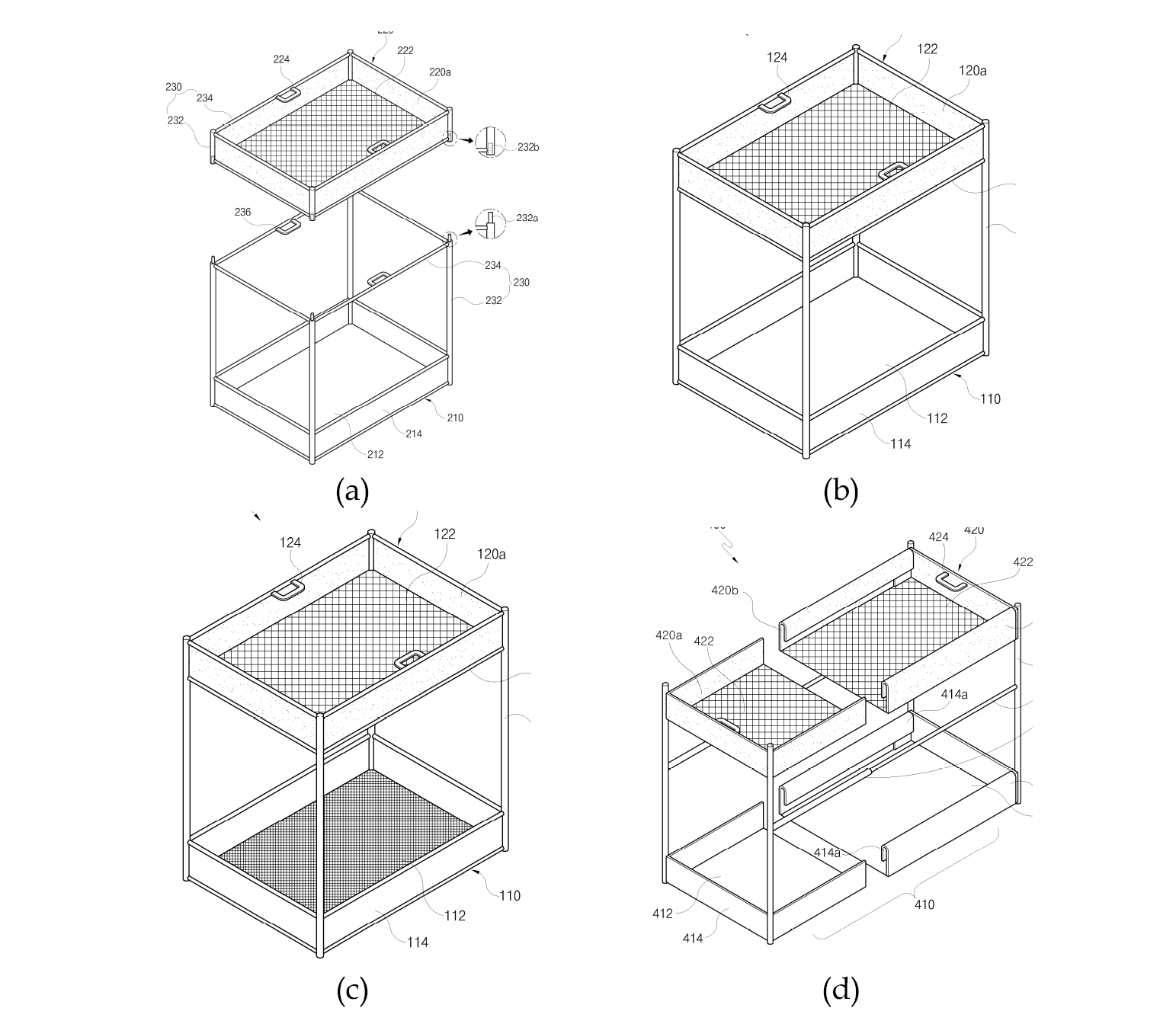
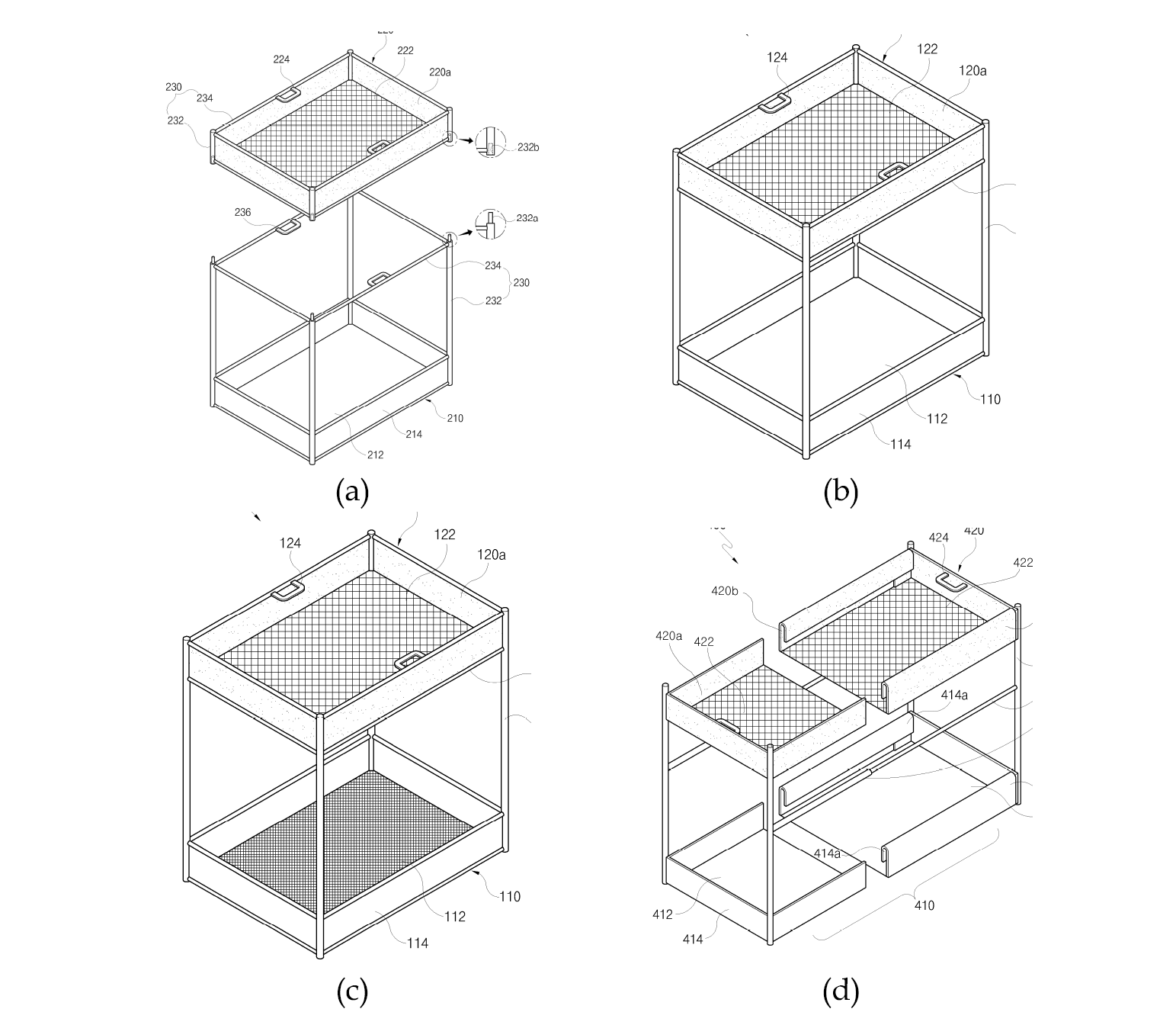
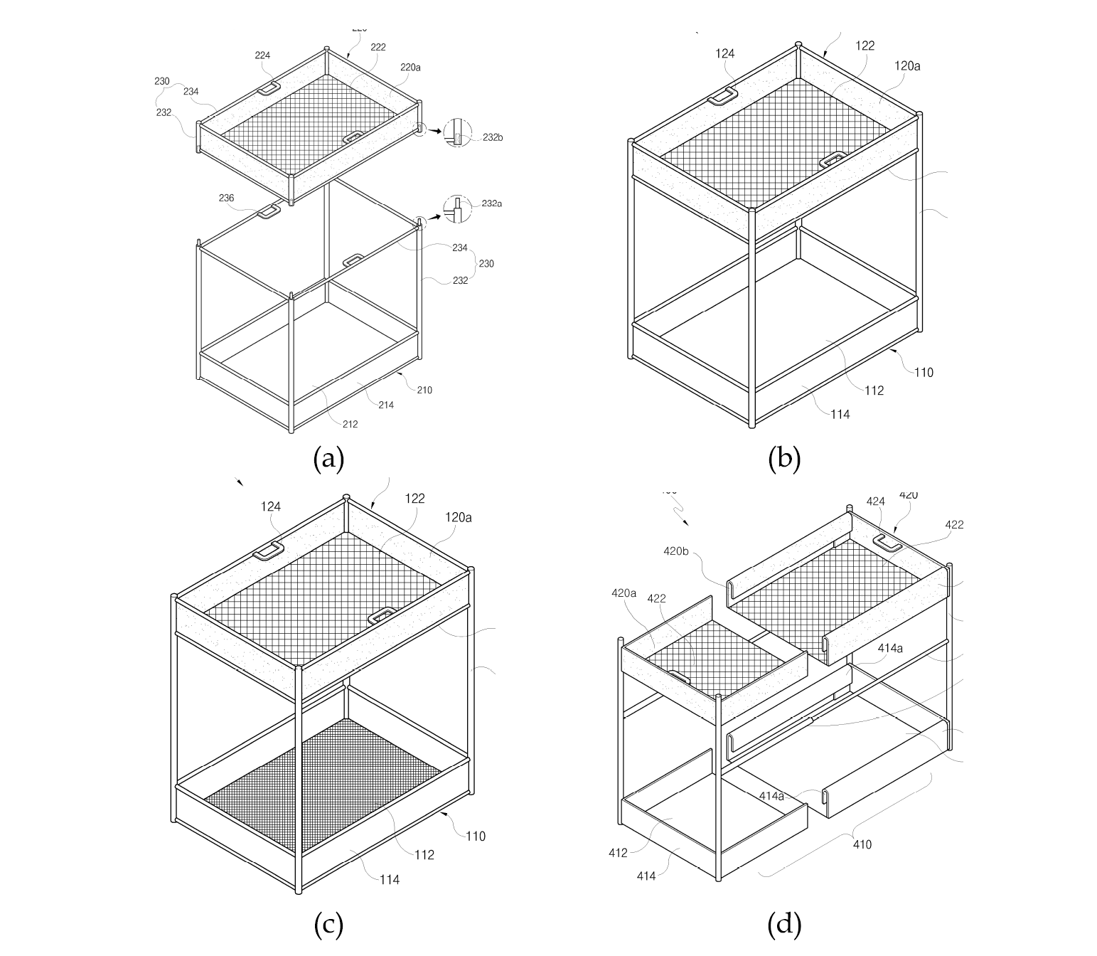
집수정 유지관리구
도로 집수정은 호우 발생시 도로의 차량과 시민들이 안전하게 통행할 수 있도록 포장면의 우수를 원활히 배수시키는 기능을 가져야 함
우리나라는 여름철에 호우가 집중되므로 집수정의 청소는 보통 우기전에 자치단체별로 시행을 하고 있으나 오물의 양이 많아 청소가 어렵거나 고여있는 물에서는 악취가 발생하고 각종 해충의 서식처가 되고 있음
따라서, 상·하부 오물받이로 구성된 집수정 유지관리구를 사용시 오물제가 및 침투성능을 저하시키는 세립분 토사 토사 청소가 용이함
① 집수정 유지관리구는 크게 상부 오물받이와 하부 오물받이로 구성되며, 두 오물받이는 프레임으로 연결됨(a)
② 상부 오물받이는 주로 담배꽁초, 각종 쓰레기, 낙엽 등을 거를 수 있는 부분이며, 하부 오물받이는 주로 도로나 인도에서 유입된 미세한 흙을 받아주는 역할을 함(b)
③ 침투집수정에 사용되는 유지관리구는 그림 (c)와 같고, 하부 오물받이에 집적된 미세한 흙은 건조되면 케이크와 같이 청소가 가능하게 됨
④ 집수정의 크기에 따라 프레임의 길이 조절이 가능함(d)

모래
모래는 굴착 바닥면의 침투면이 다짐으로 인하여 침투능력이 저하되는 현상을 방지하기 위해 사용된다. 모래 선정시 종류, 설치시 모래 두께, 지반특성 등에 유의하여 설치하도록 한다.
모래는 강모래, 바다모래, 산모래 등을 사용하며, 거친면이 씻겨진 모래를 사용하는 것이 바람직하며, 시설내의 저류량 산정에 사용하는 설계공극률은 25% 정도로 한다. 모래의 두께는 50 ~ 100mm를 표준으로 하며, 모래는 지반이 사력 또는 사질토인 경우 설치하지 않는 것이 좋다.
충전쇄석
시설본체와 침투면(굴착면) 사이에 충전되는 쇄석은 침투면의 보호와 저류량 및 설계수두의 확보를 도모하기 위하여 사용되므로 재료 선정시 입도, 종류, 쇄석 형상, 충전높이 등을 고려하여야 한다.
재료는 시설본체 구멍의 직경보다 크며 공극률이 높은 것을 선정한다. 일반적으로 입도는 쇄석 20 ~ 40mm의 사용을 표준으로 한다. 또한 건설폐자재의 유용한 활용을 위해서 재생쇄석(콘크리트 파쇄제 등)의 입경을 조정한 쇄석을 사용하는 것도 바람직하다.쇄석을 충전할 때 사전에 씻어두는 것이 바람직하며, 시설내의 저류량 산정에 사용하는 설계 공극률은 30 ~ 40% 정도로 한다. 쇄석은 강하고 내구적인 석질을 가지고, 표면에 부착된 흙 등 불순물을 제거한 것으로, 부술 때는 적당한 입자의 모양과 입도를 가지도록 유의하고, 편평하거나 모나지 않도록 하며, 부술 때 결정 사이에 균열을 남길 우려가 있는 것 등을 사용하여서는 안 된다. 부순 잔골재를 분류할 때는 습식인 경우에는 물로 충분히 씻어서 하고, 건식인 경우에는 미분말을 제거하기 쉽도록 충분히 건조시킨 원석을 사용하여야 한다. 또한 씻을 때는 바닷물을 사용하면 안된다.
충천쇄석은 공극률이 높은 것을 사용하는 것을 원칙으로 하며 시설내 저류량에 사용되는 설계공극률은 토사유입 등으로 인한 저감율 25% 정도를 고려한다(시험은 KS F 2505의 구정을 따른다). 진폭은 침투통 외부에서 200mm 이상으로 하고 충전높이는 요구되는 설계수두에 따라 결정한다. 충전량이 동일한 경우 원형보다 각형이 침투면적이 크기 때문에 쇄석의 충전형상은 각형을 표준으로 한다.
투수시트
투수시트는 토사가 쇄석안으로 유입되는 것을 막음과 동시에 지면의 함몰을 막기 위해 사용되며, 시트내 인장강도, 투수계수, 두께, 재질 등을 고려하여야 한다.
재료의 사양은 충분한 인장강도를 가지고 부식 등의 면에 대해서는 장기간 사용에 견딜 수 있고 물을 잘 통과시킬 수 있는 모래와 기타 이상의 투수계수를 갖는 것으로 하며 폭은 5cm 정도, 인장강도는 30kg 이상, 투수계수 10^-1 ~ 10^-1 cm/sec 이상, 두께 0.1 ~ 0.2mm 이상의 것을 표준으로 한다. 투수시트의 재질은 폴리에스테르, 폴리프로필렌 등이 일반적이다. 또 사용시 하중에 의해서 부서지거나 투수성이 저하되는 경우도 있으므로 주의할 필요가 있다.
(5) 시공
굴착공
굴착은 인력 또는 소형굴착기계를 사용하며, 붕괴 위험성이 있는 지반의 경우에는 필요에 따라 토류공사를 시행한다.
① 기계굴착시 버킷으로 굴착하고, 이 작업이 마무리되면 브러시 등으로 굴착면을 평평하게 한다. 이 때 발생하는 토사는 버리도록 한다.
② 삽 등으로 인력굴착하는 경우에는 측면을 벗긴 것처럼 파내 굴착면을 마무리한다.
③ 굴착저면의 침투능력을 보호하기 위해서는 과도하게 다져지지 않도록 주의한다.
④ 굴착 중 토질 양상의 상이성 또는 특이한 점이 발견되는 경우에는 신속히 설계자 등과 협의하여 적절한 대책을 세운다.
모래 부설공
굴착저면에 쓰이는 모래는 가능한 균질한 것을 써야 하며, 바다모래, 유기물, 기타 유해한 잡물을 포함해서는 안 된다. 또한 굴착시에는 굴착면에서 쓸려내려오는 흙에 대해서도 유의하여 시공하도록 한다.
굴착이 완료되면 굴착저면을 보호하기 위해 모래를 깔며, 지반이 사질토일 경우에는 생략해도 무방하다. 모래 부설시에는 인력으로 실시하며, 기계 등을 이용한 다짐은 하지 않는다.
![]() |
![]() |
| 모래부설 상황 | 모래부설 완료 |
투수시트공
투수시트는 토사의 쇄석 내로의 유입방지 및 지반함몰을 방지하기 위하여 충전쇄석의 전면을 둘러 쌀 수 있게 부설한다.
투수시트는 굴착면보다 약간 큰 치수의 것을 사용하고 시트의 이음부에서 토사가 침입하지 않도록 포개서 사용하여야 하며, 작업시 편리를 이용하여 철사 등으로 고정하기도 한다.

충전 쇄석공(기초공)
충전쇄석 투입시에는 토사 유입 방지, 토입 방법, 다짐 등을 고려하여 실시하도록 한다.
충전쇄석은 토사의 혼입을 방지하기 위하여 시트 등의 위에 임시 설치하는 것이 좋다. 충전쇄석의 투입은 인력 또는 기계에 의해서 수행하고, 투입시에 투수시트가 당겨지지 않도록 주의한다. 충전쇄석의 다짐은 침하와 함몰의 방지를 위하여 실시하며, 쇄석부분의 투수능력 또는 저류량의 영향을 충분히 고려하여 다짐의 횟수나 방법을 결정하도록 한다.

설치공
통의 저판에는 모르타르 처리를 하지 않으며, 통을 설치한 수 연결관(집수관, 배수관, 투수관 등)을 연결하고 막힘방지장치 등을 설치한다.
충전 쇄석공(측면 및 상면)
쇄석 충전시에는 통과 투수관 등이 움직이지 않도록 하며, 투수시트가 당겨지지 않도록 신중히 실시한다.

접합
관거의 관경이 변화하는 경우 또는 2개의 관거가 합류하는 경우의 접합방법은 수면접합 또는 관정접합으로 한다.
지표경사가 급한 경우는 관경변화에 관계없이 지표경사에 따라 단차접합 또는 계단접합으로 한다. 원심력 철근콘크리트관 A형은 P.E수밀벨트접합, 원심력 철근콘크리트관 B형은 소켓 고무링 접합 또는 수밀팩 고무링 접합, 진동 및 롤 전압 철근콘크리트관은 소켓고무링 접합으로 하되, 수밀성이 확보되도록 주의하여 시공해야 한다.
매설공
침투통 및 기타 시설의 설치가 끝난 후에는 상면에 투수시트공을 설치하도록 하며, 아래의 방법으로 다짐을 충분히 하여야 한다.
① 충전쇄석공을 완료 후 매설을 시행하기 전에 충전쇄석의 상부를 투수시트로 가린다.
② 매설토는 탬퍼 등으로 충분히 다짐한다. 또한 쇄석 맞물림 등에 따라서 초기 침하가 일어날 수 있으므로 매설 후 1~2 일은 주의하는 것이 좋다.
③ 매설시 상부이용을 고려한 재료(양질의 흙 등)를 사용한다.

잔토 처리 및 청소
굴착 후 잔토는 공사완료 후 속히 처분하며, 잔재의 정돈과 청소를 실시하고 침투시설에 잔재가 들어가는 일이 없도록 한다.
① 청소는 인력에 의한 방법과 흡인세정차 등을 이용하여 행하는 방법이 있으며, 내부에 퇴적이 되었을 때 토사 등이 뭉쳐진 상태의 경우, 고압세정기로 흡인하는 것이 효과적이다.
② 막힘 방지장치가 설치된 경우는 청소작업을 비교적 용이하게 할 수 있다.
③ 기능 저하로 인정되는 경우에는 아래의 방법으로 기능회복을 도모한다.
- 쇄석의 표면을 흡입 세정한다.
- 쇄석부분을 파낼 때는 세정한다.
- 쇄석의 주위를 파서 드러낼 때 쇄석의 충전범위를 확대한다.
④ 토사 등을 제거하거기 힘든 경우는 고압세정기와 병용하는 것이 효과적이나, 분사압에 의해 토립자가 침투면에 압력을 가함으로써 침투능력을 저감시킬 수 있으므로 주의를 요한다.
(6) 유지관리
침투능력 확인
준공에 있어서 몇 개의 시설을 선정한 후 주입시험을 실시하여 침투능력을 확인하도록 한다.
주입시험은 KS F 2322 규정에 의한 정수위법을 원칙으로 하지만 부득이한 경우에는 변수위법을 따른다.
유지관리
점검내용은 기능점검과 안전점검으로 분리할 수 있으며, 점검시에는 각각의 점검항목에 맞게 실시하여야 한다. 청소 및 기능확인은 잔토처리 및 청소를 따른다.
접속하는 투수관이 있을 경우는 에어벙커 등에서 물을 막고, 물의 주입 후에 KS F 2322의 규정에 의한 정수위법 또는 변수위법으로 침투시험을 실시한다. 다량의 물을 필요로 하며, 시험의 준비, 물의 확보, 측정에 많은 시간이 소요된다.
침투시설 점검의 내용
| 구분 | 기능점검 | 안전점검 |
| 점검항목 | 토사, 쓰레기, 낙엽의 퇴적상황 쓰레기제거 필터의 폐색 상황 침수상황 주변의 상황(나지에서 토사가 유입될 수 있는 상황이나 낙엽수가 근처에 있는 등의 상황) 나무뿌리 투입의 유무 |
덮개가 엇갈리는 경우 시설의 파손·변형상황 지표면의 침하, 함몰상황 |
| 점검방법 | 실측시 토사·쓰레기 등의 투입상황 측정기 등에 의한 토사의 퇴적량 확인 우천시의 침투상황 확인 필터용 바구니 등에서 시설 내로 유입되는 물의 침투상황 확인 |
외견상 눈으로 보이는 것으로 점검 해머 등을 이용하여 쪼개진 틈의 확인 |
| 점검의 중점개소 | 배수계통으로 판단된 종점부근시설 나지나 도로배수가 직접 유입되는 시설 비교적 주변지반보다 낮은 곳에 설치된 우수가 유입되기 쉬운 장소 상부 개방형 시설 |
이용자나 통행차량 등이 많은 곳 과거에 함몰 등이 발생한 장소 |
| 점검시기 | (정기점검) 년 1회 이상을 원칙으로 한다. (비 정기점검) 우기, 태풍시기 등 강우량이 많은 시기 홍수경보의 발령시 시설주변에서 토공사 등의 종료 후 이용자들에게 통보가 이루어진 경우 |
|
출처 : 우수유출저감시설의 종류·구조·설치 및 유지관리 기준
'자료실 > 수자원공학' 카테고리의 다른 글
| 침투측구의 시공 및 유지관리 (0) | 2023.06.26 |
|---|---|
| 침투트렌치의 시공 및 유지관리 (0) | 2023.06.24 |
| 침투시설의 배치계획 (0) | 2023.06.23 |
| 침투트렌치의 CN (0) | 2023.06.22 |
| 투수성 보도블록의 CN (0) | 2023.06.22 |

